Полезные статьи
-
10 Инноваций для Вашего Конвейера.
-
Конвейеры для Дробильно-Сортировочных Комплексов
-
Какая дробилка лучше?
-
Грохоты от производителя Стройбетонмаш: надежность и инновации.
-
Лещадность щебня: Как превратить обычный щебень в премиальный и дорогой продукт?
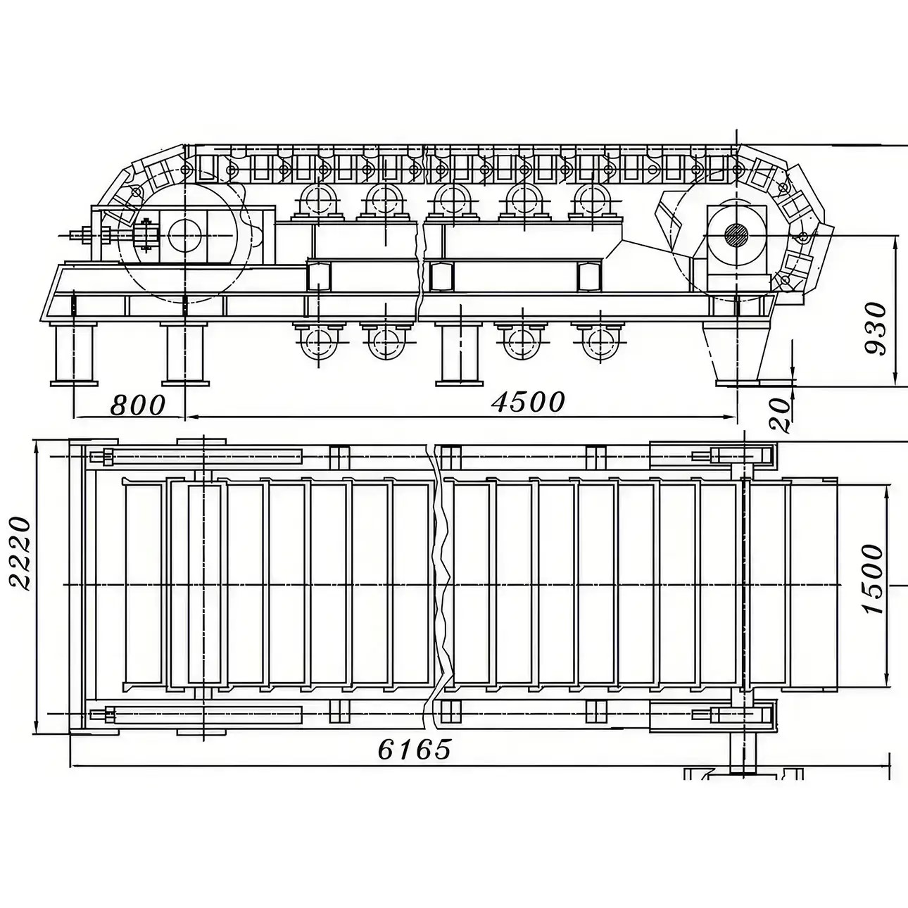
Питатель ПП-2-15
24 000 000
₽
Характеристики товара
Производитель:
Россия

| Технические характеристики пластинчатого питателя ПП 2-15 | |||||
| ПП2-15 | 30 | 45 | 60 | 90 | 120 |
| Ширина полотна, мм | 1500 | ||||
| Расстояние между осями звездочек, мм | 3000 | 4500 | 6000 | 9000 | 12000 |
| Скорость движения полотна, м/сек | 0.08; 0.12; 0.16; 0.25 | ||||
| Масса, кг (указана комплектно с электрооборудованием и комплектом ЗИП) | 17560 | 21800 | 25470 | 32710 | 40080 |
| Производительность, м3/ч | 270; 400; 540; 800 | ||||
| Запасные части пластинчатого питателя ПП 2-15 | |
| Наименование | № чертежа |
| Натяжное устройство | ПП2.52.00.000сб |
| Питатель 2-15-120 (без полотна) | |
| Питатель 2-15-60 (без полотна) | |
| Пластина питателя 2-15 | 1-355817 |
| Полотно питателя 2-15-120 | 1-355814-04 |
| Полотно питателя 2-15-30 | 1-355814 |
| Полотно питателя 2-15-45 | 1-355814-01 |
| Полотно питателя 2-15-60 | 1-355814-02 |
| Полотно питателя 2-15-90 | 1-355814-03 |
| Ролик нижний | 2.05.00.000.03 |
| Ролик опорный / верхний | 2.04.00.000.03 |
| Эл.двигатель | А200 М4 37кВт 1500об/мин |
Для подбора оборудования или получения консультации обращайтесь по тел. +7 (391) 282-23-60 или по E-mail: 2822360@bk.ru
Похожие товары
Вы недавно смотрели: